| 首 页 | 公司简介 | 新闻中心 | 产品集锦 |  产品目录 | 产品知识 | 联系方法 | 网上订单 | 电子邮局 | 
 
DJB-V70型电动加油泵(3.15MPa)

一、概述

适用于干油集中润滑系统中,向电动润滑泵的贮油器内充填润滑脂。该泵为不带贮油桶型,直接放在200L的油桶上,可以单独操作,与相应的电控装置连接可以实现电动润滑系统的自动补脂。该泵为内藏式柱塞容积泵,采用蜗轮蜗杆减速传动,运转平稳,输出压力高,出口处设置调压安全阀具有过载保护作用。

二、技术参数


型号
公称压力MPa
加油量mL/每次
功率kW
速比
减速箱加油量
重量kg
DJB-V70
3.15
70
0.37
1:25
0.35L
55
使用介质为锥入度265~385(25℃,150g)1/10mm的润滑脂(NLGI0#~2#)。
   
三、型号说明                 


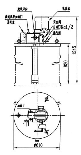
四、外形尺寸

动作说明:

由垂直安装的电机经蜗杆带动蜗轮回转,在蜗轮端面上装有偏心轴,通过曲柄连杆带动柱塞上下往复运动,由活塞内部及管帽内单向阀的作用完成吸压油过程,经输油胶管向外输送。

使用说明:

1、建议按旋向箭头方向接线旋转。
2、使用的润滑脂必须干净、质地均匀,在规定牌号范围内。
3、首次使用前应向减速箱内注入润滑油(N220)至规定油面。
4、加油泵首次启动后,应先打开放气阀,正常出油后关闭。
5、不许在桶内无油脂的情况下空运转。

Copyright © 2012 南通市立新机械制造有限公司 地址:江苏启东市城北工业园杨沙路27号 润滑设备
电话:0513-83308668 传真:0513-83308989 网址:www.ntlx.cn E-mail:ntlx@ntlx.cn
在线咨询