| 首 页 | 公司简介 | 新闻中心 | 产品集锦 |  产品目录 | 产品知识 | 联系方法 | 网上订单 | 电子邮局 | 
 
SDPQ-L、SSPQ-L系列双线分配器(20MPa)

一、使用条件
适用于公称压力为20MPa的双线式集中润滑系统作为一种计量给油装置,它在两条供油管交替的供油压力作用下,直接由供油压力推动活塞给油,完成向各润滑点定量分配润滑脂的功能。
SDPQ-L系列单向出油分配器给油口都在底部,分配器活塞正反向动作均从同一个给油口排油,系统每工作一次,各给油口均排油一次。
SSPQ-L系列双向出油分配器正面和底部均有给油口,分配器活塞正反向动作分别从正面和底部的给油口排出润滑脂。相对于SDPQ 型分配器给油口成倍增加,正面右位给油口下预制一,二口合并为一口的螺塞,易改为奇数出油,使用系统配管简单。SSPQ-L2、3、4三种系列的分配器,同样给油口数的外形安装尺寸相同,易于型号变更替换方便。
该系列分配器可以从指示杆的动作直接观察分配器的工作情况,还可通过调整螺钉在规定范围内方便地调整各个给油口的给油量。

二、技术参数  
型 号
公称压力
动作压力
出油口数
每口每循环给油量ml
损失量
调整螺钉每转一
圈的调整量mL
重量
标准型号
原型号
MPa
MPa
系列
最大
最小
mL
kg
1SDPQ-L1
DV-31H
20
≤1.5
1
1
1.2
0.2
0.50
0.06
0.8
2SDPQ-L1
DV-32H
2
1.4
3SDPQ-L1
DV-33H
3
1.8
4SDPQ-L1
DV-34H
4
2.3
1SDPQ-L2
DV-41H
1
2
2.5
0.6
0.55
0.10
1.0
2SDPQ-L2
DV-42H
2
1.9
3SDPQ-L2
DV-43H
3
2.7
4SDPQ-L2
DV-44H
4
3.2
1SDPQ-L3
DV-51H
≤1.2
1
3
5.0
1.2
0.63
0.15
1.4
2SDPQ-L3
DV-52H
2
2.4
3SDPQ-L3
DV-53H
3
3.5
4SDPQ-L3
DV-54H
4
4.6
1SDPQ-L4
DV-61H
1
4
14.0
3.0
0.63
0.68
2.4
2SDPQ-L4
DV-62H
2
4.2
SSPQ-L 系列:(注:损失量是指推动导向活塞需要的流量)。
 
型 号
公称压力
动作压力
出油口数
每口每循环给油量ml
损失量
调整螺钉每转一
圈的调整量mL
重量
标准型号
原型号
MPa
MPa
系列
最大
最小
mL
kg
2SSPQ-L1
DW-22H
20
≤1.8
2
1
0.6
0.15
0.17
0.04
0.5
4SSPQ-L1
DW-24H
4
0.8
6SSPQ-L1
DW-26H
6
1.1
8SSPQ-L1
DW-28H
8
1.4
2SSPQ-L2
DW-32H
≤1.5
2
2
1.2
0.2
0.20
0.06
4SSPQ-L2
DW-34H
4
2.4
6SSPQ-L2
DW-36H
6
3.4
8SSPQ-L2
DW-38H
8
4.4
2SSPQ-L3
DW-42H
2
3
2.5
0.6
0.10
1.4
4SSPQ-L3
DW-44H
4
2.4
6SSPQ-L3
DW-46H
6
3.4
8SSPQ-L3
DW-48H
8
4.4
2SSPQ-L4
DW-52H
≤1.2
2
4
5.0
1.2
0.15
1.4
4SSPQ-L4
DW-54H
4
2.4
6SSPQ-L4
DW-56H
6
3.4
8SSPQ-L4
DW-58H
8
4.4
SDPQ-L和SSPQ-L系列分配器使用介质为锥入度265(25℃,150g)1/10mm 润滑脂(NLGI0#~1#)或粘度等级大于N68的润滑油。使用环境温度为-10℃~80℃;介质为润滑油时,可在10MPa 压力下使用。
 
型号
L
B
H
L1
L2
L3
L4
L5
L6
L7
L8
H1
H2
H3
H4
d1
d2
1SDPQ-L1
44
38
104
8
29
11
22.5
27
10
24
11
64
11
39
Rc3/8
Rc1/4
2SDPQ-L1
73
-
-
42
40
3SDPQ-L1
102
10
82
4SDPQ-L1
131
111
1SDPQ-L1
50
40
125
9.5
31
25
29
30
76
54
48
2SDPQ-L1
81
61
3SDPQ-L1
112
92
4SDPQ-L1
143
123
1SDPQ-L1
53
45
138
37
14
28
34
33
14
83
13
57
53
2SDPQ-L1
90
70
3SDPQ-L1
127
107
4SDPQ-L1
164
144
1SDPQ-L1
62
57
149
10
46
29
33
45
42
20
89
16
56
2SDPQ-L1
108
88
SDPQ-L系列单向出油的双线分配器,只在下面有出油口,活塞正向、反向排油时都由下出油口供送润滑脂。其形式与尺寸见图和表的规定
 
型号
L
B
H
L1
L2
L3
L4
L5
L6
L7
L8
L9
H1
H2
H3
H4
H5
d1
d2
d3
2SSPQ-L1
36
40
81
18
17
32.5
18
21
6
24
8
18
33
34
54
8.5
37
Rc1/4
Rc1/8
7
4SSPQ-L1
53
41
6SSPQ-L1
70
58
8SSPQ-L1
87
75
2SSPQ-L2
44
120
32
44
22
27
7
30
12
24
47
52
79
11
57
Rc3/8
Rc1/4
9
4SSPQ-L2
76
62
6SSPQ-L2
108
94
8SSPQ-L2
140
126
2SSPQ-L3
44
54
127
30
4SSPQ-L3
76
62
6SSPQ-L3
108
94
8SSPQ-L3
140
126
2SSPQ-L4
44
137
30
4SSPQ-L4
76
62
6SSPQ-L4
108
94
8SSPQ-L4
140
126
SSPQ-L系列双向出油的双线分配器,在正面和下面都有出油口,活塞正向,反向排油时,正面出油口和下面出油口交替供送润滑脂。其形式与尺寸见图与表的规定。
 
三、型号说明
 
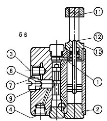
四、动作说明
1、润滑泵;2、贮油器;3、换向阀;4、分配器;4a、先导活塞;4b、主活塞
5a、供油管;5b、供油管给油管;7、调整螺钉;8、指示杆
双线分配器有两个进油口,分别与5a.5b供油管连接,当其中一条由润滑泵供油时,另一条则向贮油器开放。
如上图所示,由泵压送来的润滑脂,经供油管5a输送至分配器4,进入先导活塞4a上部加压,将先导活塞4a压下,此时下部与供油管5b连通卸荷。随着先导活塞4a的下移,使主活塞4b上腔与先导活塞上腔连通,主活塞下腔与出油口连通,供送的润滑剂进入主活塞上腔,推动主活塞下移,将其下腔的润滑剂经给油管6压送到润滑点,完成第一周期的给油动作。
切换至供油管5b供油开始第二个周期的给油动作,分配器活塞按相同的顺序反向进行前述动作。
分配器每口给油口由主活塞4b的直径和行程确定,通过调节调整螺钉7,改变主活塞4b的行程,可实现规定范围的油量调节。
SSPQ-L系列分配器动作原理同上,供油管5a、5b分别供油一次其下部和正面给油口分别排油一次。
 
五、使用说明
1、必须在规定的环境下使用规定的介质。
2、分配器的两个进油口分别与两条供油管连接,且两侧是贯通的,某一侧的进油口不使用时应堵上螺塞。不使用的给油口也应堵上螺塞(SDPQ 系列)。
3、在灰尘大、潮湿,环境恶劣的场合使用,应配防护罩。
4、给油量的调整,旋动限位器(10)上的调整螺丝(11)可以根据润滑点的实际需要在最大和最小给油量的范围内调整给油量。调整应在指示杆(12)缩回去的状态下进行,调整完毕应将锁紧螺丝拧紧。
5、给油口数若为奇数,应将螺堵(8)拧出来堵在给油口(3)上,这样给油口(3)和(4)连通,活塞正反动作均从给油口(4)出油。
6、双线分配器在系统中优先采用并联安装法,供油管与分配器联接在左边或右边均可;其次采用串联安装法,最大串联个数不允许超过三个,在特定的场合也可并串组合安装。
7、与分配器接触的表面应光滑平整,安装螺栓不宜拧得过紧,以免变形影响正常动作。
8、分配器活塞二端螺塞无故不许拆卸,如泄漏应拧紧或更换新的密封垫圈。

六、常见故障及排除方法
1、分配器不动作。
检查供油管有否压力油输送,润滑点是否阻塞,给油管是否被压扁;分配器内是否进入杂质致使活塞孔拉毛等。查明后排除即可。
2、限位器体指示杆处漏油。
拆下限位器更换新的油封,可能是油封库存或使用时间过长老化或超过规定的使用环境温度,查明后更换。

七、订货说明
1、分配器安装使用环境温度> 80℃的必须在订货合同中注明,以便供货时使用耐高温油封。
2、SSPQ(DW)型分配器对应出口均需合并时,订货时在SSPQ 后加注下标即SSPQ1 或DW- ※※ H;不合并时最后的“H”不带。


  
Copyright © 2012 南通市立新机械制造有限公司 地址:江苏启东市城北工业园杨沙路27号 润滑设备
电话:0513-83308668 传真:0513-83308989 网址:www.ntlx.cn E-mail:ntlx@ntlx.cn
在线咨询