| 首 页 | 公司简介 | 新闻中心 | 产品集锦 |  产品目录 | 产品知识 | 联系方法 | 网上订单 | 电子邮局 | 
 
LC系列列管式冷却器(1.6MPa)
一、概述
  本系列产品在综合国内外先进技术的基础上,自行设计制造的新产品,具有体积小,散热面积大,使用寿命长,维修方便,工作可靠等优点。适用于冶金、矿山、机电、轻工、纺工、食品和其它工业部门的稀油润滑系统和液压系统中的冷却之用。
二、技术参数
三、型号说明
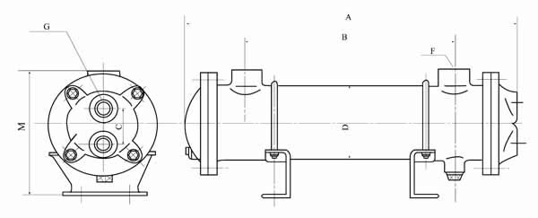
四、外形尺寸
型 号
A
B
C
D
M
F
G
LC1-0.4L/L
396
240
40
88.5
152
G1
G3/4
LC1-0.6L/L
561
405
40
88.5
152
G1
G3/4
LC1-0.8L/L
688
532
40
88.5
152
G1
G3/4
LC1-1.0L/L
821
665
40
88.5
152
G1
G3/4
LC1-1.2L/L
961
805
40
88.5
152
G1
G3/4
LC1-1.3L/L
561
374
80
133
218
G1
G1
LC1-1.7L/L
687
500
80
133
218
G1
G1
LC1-2.1L/L
821
634
80
133
218
G1
G1
LC1-2.6L/L
963
776
80
133
218
G1
G1
LC1-3.0L/L
1113
926
80
133
218
G1
G1
LC1-3.5L/L
1271
1084
80
133
218
G1
G1
LC-1.0L/L
367
160
80
133
218
G1
G1
LC-1.6L/L
547
340
80
133
218
G1
G1
LC-2.5L/L
747
540
80
133
218
G1
G1
LC-3.2L/L
917
710
80
133
218
G1
G1
LC-4.0L/L
1117
910
80
133
218
G1
G1
LC-5.0L/L
1271
1064
80
133
218
G1
G1
LC2-6.0L/L
1090
870
128
219
309
G2
G1/2
LC2-7.2L/L
1260
1040
128
219
309
G2
G1/2
LC2-8.5L/L
1302
1280
128
219
309
G2
G1/2
LC2-10L/L
1750
1530
128
219
309
G2
G1″/2
 
Copyright © 2012 南通市立新机械制造有限公司 地址:江苏启东市城北工业园杨沙路27号 润滑设备
电话:0513-83308668 传真:0513-83308989 网址:www.ntlx.cn E-mail:ntlx@ntlx.cn
在线咨询