|
首 页
|
公司简介
|
新闻中心
|
产品集锦
|
产品目录
|
产品知识
|
联系方法
|
网上订单
|
电子邮局
|
干油部分
电动润滑泵
手(脚)动润滑泵
加油泵
双线分配器
单线分配器
换向阀、操纵阀及其附件
稀油部分
稀油润滑装置及稀油站
稀油润滑元件
管路安装附件
管件部分
油气润滑元件
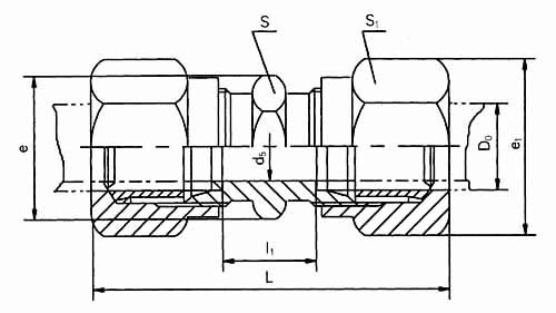
卡套式直通管接头(25MPa、40MPa)
本标准规定了卡套式直通管接头,适用于油、气及一般腐蚀性介质的管路系统。
标记示例:
公称压力J级,管子外径D0为14mm的卡套式直通管接头:
管接头J14 GB/T3733.1-1983
管子外径D0
公称通径DN
d5
l1
L≈
扳手尺寸
e
e1
重 量(kg/100件)
S
S1
G(25)
4
3
9
40
13
15
15
17.3
2.59
5
3.5
6
4
12.4
47
16
18.5
4.18
8
6
18
57
15
18
17.3
20.8
6.49
10
8
58
18
21
20.8
24.2
8.21
12
10
19
59
21
24
24.2
27.7
10.8
14
12
12.7
16
14
20
62
24
27
27.7
31.2
16.1
18
15
27
30
31.2
34.6
20.3
20
17
67
30
34
34.6
39.3
25.3
22
19
27
75
34
36
39.3
41.6
33.6
25
22
77
41
47.3
43.1
28
24
29
80
41
47.3
46.1
32
27
83
46
50
53.1
57.7
68.1
34
30
71.3
40
34
85
50
55
57.7
63.5
84.4
42
36
55
60
63.5
69.3
104
J(40)
6
3
19
55
15
18
17.3
20.8
7.23
8
5
57
18
21
20.8
24.2
8.97
10
7
20
62
21
24
24.2
27.7
12.3
12
8
14.6
14
10
64
24
27
27.2
31.2
18.8
16
12
27
30
31.2
34.6
23.3
18
14
66
30
34
34.6
39.3
26.5
20
16
28
82
34
36
39.3
41.6
38.3
22
18
30
84
41
47.3
51.5
25
20
87
41
47.3
54.1
28
22
31
89
46
53.1
65.8
Copyright © 2012 南通市立新机械制造有限公司 地址:江苏启东市城北工业园杨沙路27号
润滑设备
电话:0513-83308668 传真:0513-83308989 网址:www.ntlx.cn E-mail:ntlx@ntlx.cn
在线咨询